| 一、概述 |
适用于以油、水、气为介质的管道固定用塑料管夹。工作温度为-5~+100℃。
A 系列管夹适用于中压、低压(PN≤8MPa)管道的固定;B系列管夹及B系列Ⅰ型组合安装管夹适用于中高压、高压(PN≤31.5MPa)管道的固定。 |
 |
|
| 二、外形尺寸 |
| 1.1 A系列管夹的型式和尺寸见图1和表1。 |
|
|
| 表1 |
|
型式
|
管子
外径
Do
|
A
|
A1
|
C
|
H
|
H1
|
h
|
螺栓
|
重量
kg≈
|
型式
|
管子
外径
Do
|
A
|
A1
|
C
|
H
|
H1
|
h
|
螺栓
|
重量
kg≈
|
|
d
|
L
|
d
|
L
|
|
I
|
6
|
28
|
33
|
-
|
32
|
19
|
6
|
M6
|
20
|
0.06
|
II
|
20
|
48
|
53
|
33
|
42
|
24
|
6
|
M6
|
30
|
0.14
|
|
8
|
22
|
|
10
|
25
|
|
12
|
28
|
70
|
75
|
52
|
64
|
35
|
50
|
0.19
|
|
II
|
6
|
34
|
39
|
20
|
0.08
|
30
|
|
8
|
32
|
|
10
|
34
|
|
12
|
40
|
|
14
|
40
|
45
|
26
|
40
|
23
|
25
|
0.12
|
42
|
|
16
|
48
|
86
|
91
|
66
|
72
|
39
|
60
|
0.22
|
|
18
|
50
|
| 注:静压油腊润滑管路,压力至10MPa,仍可选用A系列管夹。 |
|
| 1.2 B 型管夹的型式和尺寸见图2 和表2 |
|
|
| 表2 |
|
型式
|
管子
外径
Do
|
A
|
A1
|
B
|
B1
|
C
|
H1
|
H2
|
h
|
s
|
螺纹
|
重量 kg≈
|
|
d
|
L
|
I型
|
II型
|
|
I、
II
|
10、12
|
55
|
73
|
30
|
60
|
33
|
48
|
24
|
8
|
2
|
M10
|
45
|
0.3
|
0.6
|
|
14、16
|
|
18、20、22
|
70
|
85
|
45
|
64
|
32
|
60
|
0.4
|
0.8
|
|
25、28
|
|
30、32、34
|
84
|
100
|
60
|
76
|
38
|
70
|
0.5
|
1.0
|
|
40、42
|
|
48、50、57
|
115
|
150
|
45
|
90
|
90
|
110
|
55
|
10
|
3
|
M12
|
100
|
1.8
|
3.6
|
|
60、63.5
|
|
76、89
|
152
|
200
|
60
|
120
|
122
|
140
|
70
|
3.5
|
M16
|
130
|
2.5
|
5.0
|
|
102、108
|
205
|
270
|
80
|
160
|
168
|
200
|
100
|
15
|
4.5
|
M20
|
190
|
5.5
|
11
|
|
114、127
|
|
138、140
|
250
|
310
|
90
|
180
|
205
|
230
|
115
|
M24
|
220
|
8
|
16
|
|
159、168
|
| 注:当管路介质压力较高时,可选用B系列I型和II型,但需缩小相邻管夹间距。 |
|
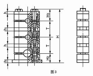
1.2.1 B 型系列Ⅰ型组合安装夹的型式和尺寸见图3 和表3。
a)同一外形尺寸的B 型系列Ⅰ型管夹,可叠垒成组成安装,但最多不超过5 根管子。 |
|
|
|
表3 mm
|
|
管子外径
Do
|
10
|
12
|
14
|
16
|
18
|
20
|
22
|
25
|
28
|
32
|
34
|
40
|
42
|
48
|
50
|
57
|
60
|
63.5
|
76
|
89
|
102
|
108
|
114
|
127
|
133
|
140
|
159
|
168
|
|
H3
|
31
|
39
|
45
|
63
|
80
|
113
|
130
|
|
T
|
40
|
56
|
68
|
100
|
130
|
185
|
215
|
|
|
b)尺寸计算 H=H2+H3+(N-1)·T
式中:N ——管子根数:
T ——相邻管距(见表3),mm;
H2、H3见表2和表3
◎注:组合安装管夹的每组重量可近似按(N-0.5)乘以表2中的单件重量。
2.1 标记说明
A 系列Ⅰ型、管子外径为12mm的塑料管夹:
塑料管夹A(Ⅰ)12 JB/ZQ4008-97
B 系列Ⅱ型、管子外径为28mm 的塑料管夹;
塑料管夹B(Ⅱ)28 JB/ZQ4008-97
B 系列Ⅰ型组合叠装、管子外径为22mm的3根、管子外径为28mm的2根的塑料管夹;
塑料管夹B(Ⅰ)22×3-28×2JB/ZQ4008-97
三、管夹承载能力
(A1,A2 及图A1,图A2)
A1 表示方法:管夹承受管子轴向力的能力大小,用曲线图表示。
A2 具体内容:图A1 用于“A 系列管夹”;图A2 用于“B 系列Ⅰ型管夹”。a 曲线表示管夹与管子处于“静摩擦状态”时,管子外径尺寸与管夹承受管子轴向力的函数关系。b曲线表示管夹与管子处于“动摩擦状态”时,管子外径尺寸与管夹承受管子轴向力及转矩的函数关系。
|
|
|
四、安装说明(B1~B3)
B1 管夹底板采用焊接法固定在焊接板、钢梁、轨道上。应注意焊接板、钢梁、轨道的固定必须牢靠,其所受负荷要保持在允许范围内(参考图A1、A2)
B2 安装时,相邻管夹的间距,应保持在1-3m 的距离。
B3 管路安装时,在弯管处其弧形部分之后,就应安装管夹。(见图B1)。 |
 |
|